婚假、生育假、陪产假确定了!来看江苏怎么定!

时间:8年前 (2018-03-07)来源:怀孕期阅读量: 282

导读:

23日上午,《上海市人口与计划生育条例修正案》审议通过。下月起婚假天数为10天,产假为128天,陪产假为10天。至此,天津、浙江、宁夏等13省份的新计生条例已经出台。那么,咱们江苏的婚假将怎么休呢?


昨天,有媒体记者第一时间采访了江苏省卫计委相关负责人,他透露,《江苏省人口与计划生育条例》的修订工作正在依法依规稳步推进中,关于婚假、产假、配偶的陪产假都在本次修订的范围中。江苏省人大相关部门负责人表示,关于修改《江苏省人口与计划生育条例》的决定,拟在3月下旬上省人大常委会讨论


产假和婚假

多省计生新政出台:

产假

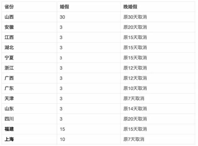
婚假



江苏的晚婚假会取消吗?昨天,省卫计委相关负责人向记者表示,江苏的婚假天数有望不减,今后也不再提“晚婚假”这一说法,以后就是婚假


记者了解到,根据现行的《江苏省人口与计划生育条例》第三十条规定,对晚婚的,延长婚假10天。再加上法定的3天,目前江苏的晚婚假共计13天。江苏省民政厅有关负责人表示,在晚婚人群已占多数的情况下,江苏在政策调整过程中,应保持福利措施的延续性,同时根据国家卫生计生委关于婚假天数不做减法的指导精神,修订地方计生条例。


记者了解到,根据现行的《江苏省职工生育保险规定》,职工在产假或者休假期间按照以下标准享受生育津贴:生育的,享受98天的生育津贴;晚育的,增加30天的生育津贴。男性也有护理假,享受10天的生育津贴。


对此,江苏省卫计委相关负责人表示,江苏将严格按照《人口与计划生育法》的规定,落实好全面两孩政策。在江苏,拟把原“晚育假”调整为“生育假”,只要符合政策规定,都有望是128天也就是说,不管你是生一孩,还是生二孩,女性有望均享受128天产假。同样,配偶的10天护理假也有望保留。但这些假怎么休现在都尚未最终确定。


据悉,省卫计委已将《江苏省人口和计划生育条例》修订草案报送到省政府办公厅,等省政府常务会议审议通过后,再提交到省人大常委会审议。


(来源:央视新闻、现代快报)

更多精彩

元宵节过后,南京人的生活要大变样!
为什么圆脸比瓜子脸好看?看完这条微信你就懂了!

最好的长寿药是什么?不花一分钱,比什么药都好使!


南京韶韶QQ群:289065532

华侨路茶坊 南京最有逼格的微信公众号

评论已经开通

让我们听见你的声音
↓↓↓

最新文章

网友跟帖

关于我们 | 联系我们 | 版权申明 | 免责声明1111

本站所收录作品、热点评论等信息部分来源互联网,目的只是为了系统归纳学习和传递资讯!

免责申明:所有作品版权归原创作者所有,与本站立场无关,如不慎侵犯了你的权益,请联系我们告知,我们将做删除处理!

Copyright 2017-2018 怀孕期 版权所有 湘ICP备15012852号