冯仑和夏雨都投资的这家明星创业公司 暴力隔离怀孕女员工还疑似数据造假

时间:8年前 (2018-03-04)来源:怀孕期阅读量: 1,166

导读:

漫画来自人民日报微博

 

“今年的5月21日,我发现自己怀孕了,当天马上告知了CEO。第二天早会上,她就派我一个人去了深圳和上海出差。”10月31日,前减约APP公关总监刘涛(化名)女士回忆起这段经历,言语中带着无奈与愤怒。出差归来之后,她发现公司在拉勾和猎聘挂上了自己的职位招聘信息,并且已经面试成功了一位品牌总监。

 

随后,记者致电健康有益CEO李宇欣,其表示“相关情况她并不清楚,需要问人力资源。”随后记者再次致电人力资源负责人李俊卿,对方表示“刘女士并没有被辞退,工资也照常发。”但是随后在电话中有另外的人提示“你不用管,直接挂了就好。”随即电话被挂断。

 

然而,刘涛女士向记者出示的证据显示,李宇欣和李俊卿都没有说实话。

 

怀孕的她被公司暴力隔离

 

根据刘涛女士的介绍,她算是减约APP早期的创业员工之一,“我在2015年3月份加入了健康有益,当时公司连人力资源都还没有。”减约app是北京健康有益科技有限公司旗下的主力产品。在国家企业信用信息公示系统可以查询到,健康有益的法定代表人是李宇欣。

刘涛女士提供的对话截图

 

在得知自己意外怀孕之后,刘涛女士第一时间告知了李宇欣和裘实。当天适逢周日,在三人的群里他们问刘涛女士“是打算要还是不要?你老公有什么想法?”刘涛女士回复“正在纠结,但是老公很想要。”随后他们建议刘涛女士留下这个孩子,并且表示了祝贺。

 

令刘涛女士始料未及的是,李宇欣和裘实在得知其怀孕消息的第二天就将她派往外地出差。

 

“他们将我外派出差主要是为了两件事,第一是去深圳考察一家电商代运营公司,第二则是去上海参加一个美容博览会。” 减约方面声称“这次出差早就安排好了,她可能工作心比较强,就什么都没说就去了。”但是刘涛女士并不认同这个说法,“我入职两年多以来,加起来的出差次数也就两回,一次是当天往返山东,还有一次是去杭州。” 刘涛女士当时处于怀孕初期,“李宇欣是医学硕士毕业,还在医院实习过,没理由不知道怀孕前3个月是易流产的危险期。”

 

健康有益经常加班,由于长期加班超负荷工作,刘涛女士的身体健康状况并不是特别理想,李宇欣和裘实以“没有其他合适的人选,希望你克服一下”为由让刘涛女士遵从出差的安排。于是,她乘坐周二当天,也就是5月23日早上9点的航班前往深圳。

 

“深圳落地后直接去考察,晚上回到宾馆赶着做报告。在5月24日早上直飞上海赶着参加美容博览会。”也就是在飞往上海的当天,刘涛女士出现了发烧和流产的症状。但是因为博览会马上就要开始,刘涛女士忙于准备无暇顾及。

 截图来自刘涛女士朋友圈,知道真相的裘实还在朋友圈回复了

 

25日晚上,刘涛女士发烧的症状加重,“我这才觉得害怕。”26日刘涛女士在上海当地的医院看了医生,并且在回到北京后去医院挂了急诊。由于她是孕妇并且已经开始退烧,医生给刘女士开了一点药,并建议她多喝水多休息。

 

自端午假期之后,刘女士保持正常的上班状态。她在端午假期后上班的第一天就发现了公司在招聘网站挂出自己的岗位的工作介绍。她就此向裘实进行询问,得到的回答是“考虑到你的身体状况和未来的工作安排,你要调岗做助理之类的内勤工作。你的工作先由我代理,前几天还有一位品牌总监已经通过了面试。”

 

考虑到自己的身体状况和公司的运营,刘女士暂时接受了这个安排。但是在6月26日刘女士出现了肚子疼痛的情况。北京妇产医院医生给出的诊断结果是“先兆流产”。先兆流产是妊娠28周前出现的症状,如果情况加重会变成难免流产,直至最后完全流产。当时医生在病历本建议刘女士休息静养。

 

“裘实很快批准了我的请假,于是我就请假半个月。”刘女士的请假计划是6月27日到7月11日。期间,刘女士的恢复状况并不理想,到医院复检之后,医生认为“情况恢复并不太理想,可以考虑住院治疗。”刘女士在医生的建议下回家等待空出的床位。她向裘实说明了这个情况,并申请从7月12日开始在家里办公。刘女士告诉记者,“我们的工作守则是请假邮件发给自己的直属上级和人力资源部门,之前所有的病假都是如此。”裘实在微信上回复了刘女士的请假要求,让她到公司交接工作。刘女士7月12日当天到公司,把一部分工作交给了另外的部门,其余工作则在家里继续完成。

 

没想到在7月24日,刘女士在微信上接到CEO李宇欣助理的通知:由于公司架构调整,你的办公桌暂时被清理,办公用品已被代为保管。并且,没有任何人告知刘女士她在公司中担任何种职务。

 

管女士的办公用品被代管,然后邮箱被关闭

 

刘女士还被公司的人力资源部门刁难。在8月3日,人力资源要求刘女士上交病历本、挂号单和休假证明、诊断证明等材料,并声称“如果不能按时上交所需材料,将扣发刘女士第一次休假起,也就是6月27日之后的工资。”8月11日,健康有益单方面关闭了刘女士的企业邮箱。

 

在接到“6月27日以后的所有工资停发”的消息之后,刘女士一方面在准备公司需要的材料,另外一方面采用法律手段维权。8月12日,她到劳动仲裁提交了仲裁申请,随后到劳动监察大队提交了立案申请。自9月1日起,她按时给公司邮寄了相关请假的证明和诊断材料,但是“公司承认收到了这些材料,就是不给我补发7月份之后的工资。”

健康有益对此的解释是,公司的确收到了这些材料,但是刘女士拒绝接受公司的联系。在8月28日,刘女士开始被清理出公司的微信群、QQ群。刘女士发现事情不对劲,想去找CEO李宇欣理论,结果发现微信已经被删除,电话号码也被拉黑。

 

9月16日,刘女士被彻底移除出所有公司的微信群和QQ群。“我们之所以将她移除出各种群,是因为她在群里发表对公司不利的言论,并且骚扰公司其他员工。”其中,健康有益CEO李宇欣也将刘女士移除出了一部分工作群。

 

9月14日当天,刘女士的私人邮箱收到公司律师发来的律师函,律师函中指责刘女士“在社交媒体造谣损害了公司信誉。”并声称“公司并未与刘女士解除劳动合同。”

 

在接受记者采访时,减约方面曾经展示部分刘女士在朋友圈、微博和脉脉进行“言论攻击”的截图,但是当记者向其索要要求进行核实之后,对方以“这些图片已经过公证,不能对外提供”为由予以拒绝。

 刘女士被移出公司所有群聊

 

11月1日,在记者的建议下,刘女士通过微信向健康有益人力资源总监李俊卿询问自己的工作状态,是否已被解雇,但是未得到任何回复。“身体情况不太好,肚子里的宝宝能在一天是一天,但愿可以健康出生。”刘女士叹了一口气,对于纠纷已经不愿投入更多的精力,“好聚好散和身体健康是我现在最想要的结果。”

 

明星创业公司出现融资造假和数据造假问题

 

“健康有益这家公司本身存在很大的问题。”在刘女士接受凤凰科技采访的过程中,还有一位来自健康有益的员工提供了她所掌握的一些企业运营情况:使用投资人资金进行资本操作、用户量造假。

 

健康有益CEO李宇欣是一位连续创业者,根据媒体此前对她的报道,她19岁上大学就开始创业,2006年硕士毕业时把所创办的企业卖给了一家上市公司。随后,她在2014年创办了健康有益。“我以前创业的时候,冯仑、陈宏、赵涛就是我的股东。做健康有益后,他们又在继续支持我。”有一次她在接受21世纪经济报道采访时说。

 

健康有益CEO李宇欣

 

健康有益在成立之初获得来了万通集团董事局主席冯仑、汉能投资集团董事长陈宏、步长制药董事长赵涛的入股支持。

 

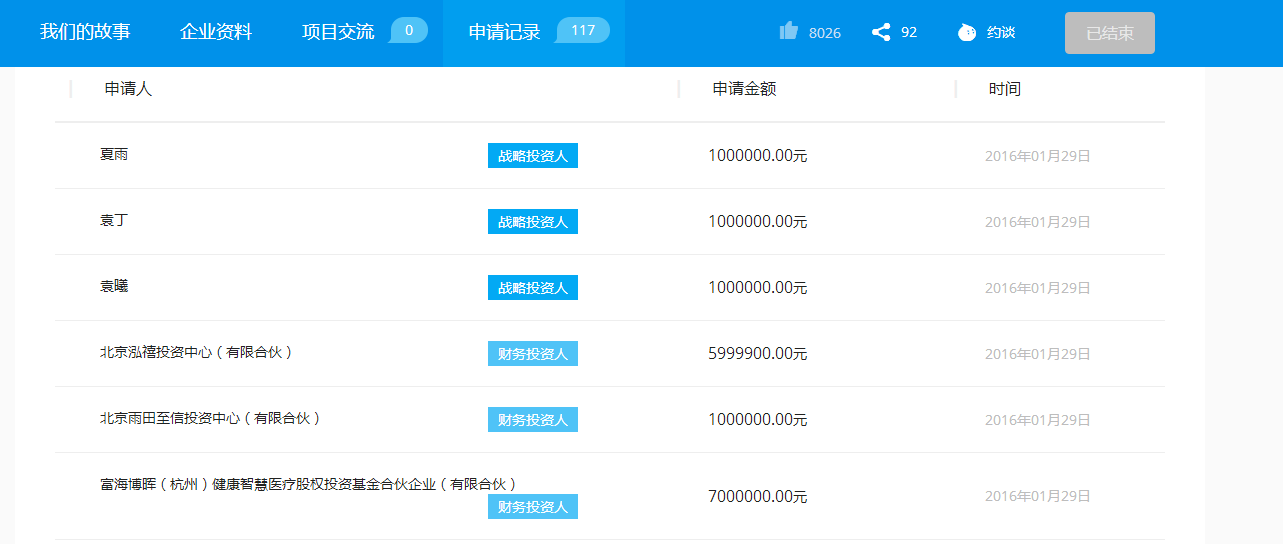
健康有益最先出现在大众视野的是子公司减脂时代,2016年8月,其宣布完成A轮融资。此前在当年2月份的pre-A轮2000万元融资中,投资方包括东方富海、泓禧基金等投资机构以及演员夏雨、袁弘等个人投资者。

 

2016年9月,健康有益又创办了针对母婴人群进行健康管理的子公司数果。2017年10月底,数果宣布完成数千万元人民币Pre-A轮融资,由宏时资本领投,天使投资人王刚和投资机构泓禧基金继续跟投。

 

可以注意到,在减脂时代和数果融资的过程中都出现了泓禧基金的身影。泓禧基金只参与了健康有益上下游关联企业的融资,包括减脂时代和数果的天使轮和Pre-A轮融资。在国家企业信用信息公示系统中,通过“泓禧”可以查询到的结果包括北京泓禧投资中心和北京泓禧至心投资管理有限公司。其中,北京泓禧至心投资管理有限公司是北京泓禧投资中心的执行事务合伙人,也就是“法人代表”。

 

内部会议照片提到泓禧基金

 

该员工提供的一张内部会议时拍摄的照片显示,健康有益副总裁裘实提到“健康有益成立了一家基金,该基金的法定代表人是叶雷。”而叶雷就是北京泓禧至心投资管理有限公司的法人代表,“叶雷是李宇欣的好朋友,也是合伙人。”一位接近叶雷和李宇欣的内部员工告诉记者。

 

“在减脂时代的Pre-A轮融资中,北京泓禧投资中心出资599万元,实际上这是健康有益通过旗下的投资机构出钱。数果在2016年12月份的天使轮融资也只有泓禧出资。这就是自己哄抬旗下公司价格,制造有人投资的现象。”

 截图来自蚂蚁客股权众筹平台

 

在减脂时代宣布的2000万元Pre-A轮融资中,在蚂蚁客股权众筹平台可查询到的机构和个人投资者出资的金额只有1700万,“另外300万就是蚂蚁达客投资人投的。”


令人蹊跷的是减脂时代宣布成功融资2000万元是在2月23日,而蚂蚁达客股权众筹成功的日期是2月28日,也就是说他们提前5天就知道了股权众筹的300万肯定可以达成。

 截图来自于北京康健数字化健康管理研究院官网

 

健康有益在2017年4月成立了北京康健数字化健康管理研究院,对于成立这个研究院的目的,李宇欣的解释是“这些人可以吸引投资。”在官网页面可以看到,包括搜狗公司CEO王小川在内的多位知名人士都被列入健康导师名单,记者就此向搜狗公司进行询问,得到的回复是“王小川从未加入过此类组织。”

 

除此之外,健康有益还虚报旗下产品的用户数量,达到吸引资本的目的。

 减约app的用户数据截图

 

根据这名员工提供的数据截图显示,截止2017年7月6日,减约app的安卓用户数为3466814,活跃率为0.09%;而iOS用户数为1044112,活跃率为0.31%。但是减约app的运营主体减脂时代在2016年2月份公布Pre-A轮融资时,李宇欣在接受媒体采访时就已经表示“覆盖用户过千万。”

 

“就这几百万用户都还是通过刷量获得的。”该员工表示,这也是为什么减约app活跃率如此低的原因。

 

根据《劳动合同法》第42条和第87条规定:女职工在孕期、产期、哺乳期内,用人单位不得解除劳动合同。而刘女士遇到的窘境是健康有益没有跟她解除劳动合同,但是她并不知道自己是何岗位,和所有同事都断开了工作联系,7月份之后的工资一分钱也没拿到。

 

(应采访对象要求,文中刘涛女士为化名,相关材料按采访对象要求进行模糊处理)

 

最新进展:

 

8月12日,刘涛女士向北京市朝阳区劳动仲裁委提交了立案申请,案件于10月12日开庭。庭上,减约方面表示工资已发放,多次想联系赵女士找不到人,但在庭上对所陈述内容无法拿出一项证据证明,仲裁员试图庭中调解,减约方面也未拿出具体的调解方案,调解未成功。庭后,出庭旁听的减约员工对刘女士表示,有办法使刘女士背一辈子的污点,未来刘女士将无法找到工作。

 

注:本文由信源提供,不代表互联网分析沙龙公众号的立场。



最新文章

网友跟帖

关于我们 | 联系我们 | 版权申明 | 免责声明1111

本站所收录作品、热点评论等信息部分来源互联网,目的只是为了系统归纳学习和传递资讯!

免责申明:所有作品版权归原创作者所有,与本站立场无关,如不慎侵犯了你的权益,请联系我们告知,我们将做删除处理!

Copyright 2017-2018 怀孕期 版权所有 湘ICP备15012852号